一、概述
DDRB-N(原ZB)型多點潤滑泵適用于潤滑頻率較低,潤滑點在50點以下,公稱壓力為31.5MPa的多線式中小型機械設備集中潤滑系統中,直接或通過單線分配器向各潤滑點供送潤滑脂的輸送供油裝置。特別適用于冶金、礦山、重機、港口運輸建筑等單機設備。
二、性能參數
出油口數
|
公稱壓力Mpa
|
每口給油量ml/次
|
給油次數次/min
|
貯油容積L
|
電動機
|
重量
kg
|
功率(kw)
|
電壓(V)
|
1~14
|
31.5(N)
|
1.8;3.5
5.8;10.5
|
22
|
10
30
|
0.25
|
380
|
43
|
使用介質為錐入度不低于265(25℃,150g)1/10mm的潤滑脂或粘度等級大于N68的潤滑油,適用于工作環境溫度為-20~+80℃。
三、外形尺寸

四、型號說明

五、使用要領
1、潤滑泵應安裝在便于檢查、調整和拆洗方便的地方,并用地腳螺釘堅固,工作場地應無有害氣體的侵蝕。
2、該系列潤滑泵為室內安裝型,在室外和環境惡劣的場合使用時,必須采取防護措施。
3、必須使用干凈的潤滑脂,因為含有雜質的潤滑劑往往是泵和系統產生故障的主要原因。向貯油筒內補充潤滑劑必須使用加油泵從電動潤滑泵補脂口加入。泵在首次充填潤滑脂前,最好先加些潤滑油,因為潤滑油流動性好,會充滿所有的部位,有利于排除空氣。
4、給油口數可在1~14范圍內任意選擇,根據設備需要不用的壓油泵元件可以自行拆下,螺孔用M20×1.5螺塞封堵即可。
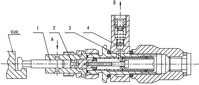
5、給油量的調整,調節螺套的位置即可獲得,螺套位置左移供出油量減小,螺套位置右移供出油量增大。

1—工作活塞2—控制活塞3—調節螺套4—單向閥
六、常見故障處理
故障現象
|
故障原因
|
排除方法
|
泵的輸出壓力升不上去
|
①壓力表損壞;
②貯油器和配管中進入空氣;
③單向閥失靈;
④主管路有泄漏;
⑤使用時間很長,柱塞與套過度磨損。
|
①更換新的壓力表;
②排除空氣;
③清洗單向閥;
④檢查主管路;
⑤更換新零件。
|
泵的輸出壓力急劇上升
|
①管路阻塞;
②分配器動作不良。
|
①檢查管路;
②觀察分配器動作情況。
|
|