一、概述
該系列雙線分配器適用于公稱壓力為20MPa的雙線式集中潤滑系統,在兩條供油管交替的供油壓力作用下,直接由供油壓力推動活塞給油,完成向各潤滑點定量分配潤滑脂的功能。
DSPQ-L(SDP-L)系列單向出油分配器給油口都在底部,分配器活塞正反向動作均從同一個給油口排油,系統每工作一次,各給油口均排油一次。
SSPQ-L(SSP-L)系列雙向出油分配器正面和底部均有給油口,分配器活塞正反向動作分別從正面和底部的給油口排出潤滑脂。相對于DSPQ型分配器給油口成倍增加,正面右位給油口下預制一,二口合并為一口的螺塞,易改為奇數出油,使系統配管簡單。SSPQ-L2、3、4三種系列的分配器,同樣給油口數的外形安裝尺寸相同,易于型號變更替換方便。
該系列分配器可以從指示桿的動作直接觀察分配器的工作情況,還可通過調整螺釘在規定范圍內方便地調整各個給油口的給油量。
二、技術參數、外形尺寸
|
型號
|
公稱壓力
MPa
|
動作壓力
MPa
|
出油
口數 個
|
每口每循環給油量mL/循環
|
損失量
mL
|
調整螺釘每轉一
圈的調整量mL
|
重量
kg
|
標準型號
|
原型號
|
系列
|
******
|
最小
|
SDP
-L
(DV)
系列
|
1DSPQ-L1
|
DV-31H
|
20
|
≤1.5
|
1
|
1
|
1.2
|
0.2
|
0.06
|
0.17
|
0.8
|
2DSPQ-L1
|
DV-32H
|
2
|
1.4
|
3DSPQ-L1
|
DV-33H
|
3
|
1.8
|
4DSPQ-L1
|
DV-34H
|
4
|
2.3
|
1DSPQ-L2
|
DV-41H
|
1
|
2
|
2.5
|
0.6
|
0.10
|
0.20
|
1
|
2DSPQ-L2
|
DV-42H
|
2
|
1.9
|
3DSPQ-L2
|
DV-43H
|
3
|
2.7
|
4DSPQ-L2
|
DV-44H
|
4
|
3.2
|
1DSPQ-L3
|
DV-51H
|
≤1.2
|
1
|
3
|
5.0
|
1.2
|
0.15
|
1.4
|
2DSPQ-L3
|
DV-52H
|
2
|
2.4
|
3DSPQ-L3
|
DV-53H
|
3
|
3.5
|
4DSPQ-L3
|
DV-54H
|
4
|
4.6
|
1DSPQ-L4
|
DV-61H
|
1
|
4
|
14.0
|
3.0
|
0.68
|
2.4
|
2DSPQ-L4
|
DV-62H
|
2
|
4.2
|

DSPQ-L(SDP-L)系列:(注:損失量是指推動導向活塞需要的流量)。
DSPQ-L 系列雙線分配器外形尺寸
型號
|
L
|
B
|
H
|
L1
|
L2
|
L3
|
L4
|
L5
|
L6
|
L7
|
L8
|
H1
|
H2
|
H3
|
H4
|
d1
|
d2
|
SDP-L(DV)系列
|
1DSPQ-L1
|
44
|
38
|
104
|
8
|
29
|
11
|
22.5
|
27
|
10
|
24
|
11
|
64
|
11
|
42
|
39
|
Rc3/8
|
Rc1/4
|
2DSPQ-L1
|
73
|
-
|
-
|
41
|
3DSPQ-L1
|
102
|
10
|
82
|
4DSPQ-L1
|
131
|
111
|
1DSPQ-L2
|
50
|
40
|
125
|
9.5
|
31
|
25
|
29
|
30
|
76
|
54
|
48
|
2DSPQ-L2
|
81
|
61
|
3DSPQ-L2
|
112
|
92
|
4DSPQ-L2
|
143
|
123
|
1DSPQ-L3
|
53
|
45
|
138
|
37
|
14
|
28
|
34
|
33
|
14
|
83
|
13
|
57
|
53
|
2DSPQ-L3
|
90
|
70
|
3DSPQ-L3
|
127
|
10
|
107
|
4DSPQ-L3
|
164
|
144
|
1DSPQ-L4
|
62
|
57
|
149
|
46
|
29
|
33
|
45
|
42
|
20
|
89
|
16
|
56
|
2DSPQ-L4
|
108
|
88
|
DSPQ-L系列單向出油的雙線分配器,只在下面有出油口,活塞正向、反向排油時都由下出油口供送潤滑脂。其形式與尺寸見圖和表的規定。
SSPQ-L系列:(注:損失量是指推動導向活塞需要的流量)。
|
型 號
|
公稱壓力
MPa
|
動作壓力
MPa
|
出油口數
個
|
每口每循環給油量mL/循環
|
損失量
mL
|
調整螺釘每轉一
圈的調整量mL
|
重量
kg
|
標準型號
|
原型號
|
系列
|
******
|
最小
|
SSP-L(DW)系列
|
2SSPQ-L1
|
DW-22H
|
20(L)
|
≤1.8
|
2
|
1
|
0.6
|
0.15
|
0.17
|
0.04
|
0.5
|
4SSPQ-L1
|
DW-24H
|
4
|
0.8
|
6SSPQ-L1
|
DW-26H
|
6
|
1.1
|
8SSPQ-L1
|
DW-28H
|
8
|
1.4
|
2SSPQ-L2
|
DW-32H
|
2
|
2
|
1.2
|
0.2
|
0.20
|
0.06
|
4SSPQ-L2
|
DW-34H
|
4
|
2.4
|
6SSPQ-L2
|
DW-36H
|
6
|
3.4
|
8SSPQ-L2
|
DW-38H
|
8
|
4.4
|
2SSPQ-L3
|
DW-42H
|
≤1.5
|
2
|
3
|
2.5
|
0.6
|
0.10
|
1.4
|
4SSPQ-L3
|
DW-44H
|
4
|
2.4
|
6SSPQ-L3
|
DW-46H
|
6
|
3.4
|
8SSPQ-L3
|
DW-48H
|
8
|
4.4
|
2SSPQ-L4
|
DW-52H
|
≤1.2
|
2
|
4
|
5.0
|
1.2
|
0.15
|
1.4
|
4SSPQ-L4
|
DW-54H
|
4
|
2.4
|
6SSPQ-L4
|
DW-56H
|
6
|
3.4
|
8SSPQ-L4
|
DW-58H
|
8
|
4.4
|
DSPQ-L和SSPQ-L系列分配器使用介質為錐入度265~385(25℃,150g)1/10mm潤滑脂(NLGI0#~1#)或粘度等級大于N68的潤滑油。使用環境溫度為 -10℃~80℃;介質為潤滑油時,可在10MPa壓力下使用。

SSPQ-L系列外形圖
|
型號
|
L
|
B
|
H
|
L1
|
L2
|
L3
|
L4
|
L5
|
L6
|
L7
|
L8
|
L9
|
H1
|
H2
|
H3
|
H4
|
H5
|
d1
|
d2
|
d3
|
SSP-L(DW)系列
|
2SSPQ-L1
|
36
|
40
|
81
|
18
|
17
|
32.5
|
18
|
21
|
6
|
24
|
8
|
18
|
33
|
34
|
54
|
8.5
|
37
|
Rc1/4
|
Rc1/8
|
7
|
4SSPQ-L1
|
53
|
41
|
6SSPQ-L1
|
70
|
58
|
8SSPQ-L1
|
87
|
75
|
2SSPQ-L2
|
44
|
54
|
120
|
32
|
44
|
22
|
27
|
7
|
30
|
12
|
24
|
47
|
52
|
79
|
11
|
57
|
Rc3/8
|
Rc1/4
|
9
|
4SSPQ-L2
|
76
|
62
|
6SSPQ-L2
|
108
|
94
|
8SSPQ-L2
|
140
|
126
|
2SSPQ-L3
|
44
|
127
|
30
|
4SSPQ-L3
|
76
|
62
|
6SSPQ-L3
|
108
|
94
|
8SSPQ-L3
|
140
|
126
|
2SSPQ-L4
|
44
|
137
|
30
|
4SSPQ-L4
|
76
|
62
|
6SSPQ-L4
|
108
|
94
|
8SSPQ-L4
|
140
|
126
|
三、型號說明

四、動作說明

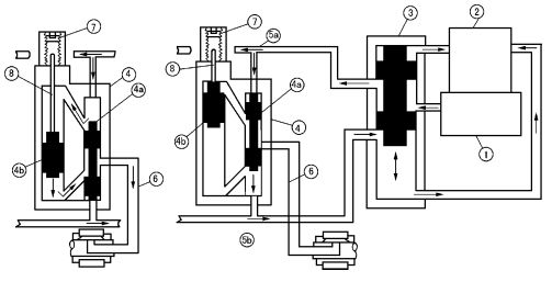
1、潤滑泵;2、貯油器;3、換向閥;4、分配器;4a、先導活塞;4b、主活塞
5a、供油管;5b、供油管給油管;7、調整螺釘;8、指示桿
雙線分配器有兩個進油口,分別與 5a.5b 供油管連接,當其中一條由潤滑泵供油時,另一條則向貯油器開放。
如上圖所示,由泵壓送來的潤滑脂,經供油管 5a 輸送至分配器 4,進入先導活塞 4a 上部加壓,將先導活塞 4a 壓下, 此時下部與供油管 5b 連通卸荷。隨著先導活塞 4a 的下移,使主活塞 4b 上腔與先導活塞上腔連通,主活塞下腔與出油 口連通,供送的潤滑劑進入主活塞上腔,推動主活塞下移,將其下腔的潤滑劑經給油管 6 壓送到潤滑點,完成第一周期的給油動作。切換至供油管 5b 供油開始第二個周期的給油動作,分配器活塞按相同的順序反向進行前述動作。
分配器每口給油量由主活塞 4b 的直徑和行程確定,通過調節調整螺釘 7,改變主活塞 4b 的行程,可實現規定范圍 的油量調節。
SSPQ-L 系列分配器動作原理同上,供油管 5a、5b 分別供油一次其下部和正面給油口分別排油一次。
五、使用說明
1、必須在規定的環境下使用規定的介質。
2、分配器的兩個進油口分別與兩條供油管連接,且兩側是貫通的,某一側的進油口不使用時應堵上螺塞。不使用 的給油口也應堵上螺塞(DSPQ 系列)。
3、在灰塵大、潮濕,環境惡劣的場合使用,應配防護罩。
4、給油量的調整,旋動限位器(10)上的調整螺絲(11)可以根據潤滑點的實際需要在******和最小給油量的范圍 內調整給油量。調整應在指示桿(12)縮回去的狀態下進行,調整完畢應將鎖緊螺絲擰緊。
5、給油口數若為奇數,應將螺堵(8)擰出來堵在給油口(3)上,這樣給油口(3)和(4)連通,活塞正反動作 均從給油口(4)出油。
6、雙線分配器在系統中優先采用并聯安裝法,供油管與分配器聯接在左邊或右邊均可;其次采用串聯安裝法,最 大串聯個數不允許超過三個,在特定的場合也可并串組合安裝。
7、與分配器接觸的表面應光滑平整,安裝螺栓不宜擰得過緊,以免變形影響正常動作。
8、分配器活塞二端螺塞無故不許拆卸,如泄漏應擰緊或更換新的密封墊圈。
六、常見故障及排除方法
1、分配器不動作。
檢查供油管有否壓力油輸送,潤滑點是否阻塞,給油管是否被壓扁;分配器內是否進入雜質致使活塞孔拉毛等,查明后排除即可。
2、限位器體指示桿處漏油。
拆下限位器體更換新的油封,可能是油封庫存或使用時間過長老化或超過規定的使用環境溫度,查明后更換。
七、訂貨說明
1、分配器安裝使用環境溫度> 80℃的必須在訂貨合同中注明,以便供貨時使用耐高溫油封。
2、SSPQ(DW)型分配器對應出口均需合并時,訂貨時在 SSPQ 后加注下標即 SSPQ1 或 DW- ※※ H;不合并時最后的 “H”不帶。 |